你好,我是邢云阳。
本章的开始,我从设计出发,为你讲解了用自然语言操控 K8s 需要考虑的要点,这些点从技术角度主要分成两类,一类是云原生时代,用命令、代码等等手段与 K8s 集群资源进行交互的手段;第二类是 AI 时代的开发技巧,比如 prompt 工程等等。
AI 时代的开发技巧实际上是重思维,轻代码的,但云原生的开发手段则是实打实的“内功”。因此我在设计篇后,又花了 4 节课的时间,为你讲解了 client-go 的两种进阶用法,如何用 gin 框架封装 API,以及多云管理工具 Karmada。
那有了思维 + 内功的支持后,本节课我们就可以开启实战,真正打通用自然语言操控 K8s 的全流程了。
我们再来回顾一下[第 5 节课]设计的架构:

用户会在一个自然语言前端,向 AI Agent 发送一条 操控 K8s 的 prompt。AI Agent 通过工具调用与 K8s 进行交互,在得到结果后,由大模型判断结果准确性并进行自然语言处理后,反馈给用户。
综上所述,设计分为三个部分,分别是自然语言前端、AI Agent 以及工具。自然语言前端我们使用 kubectl 同款的 cobra 来做成一个命令行前端,AI Agent 依然使用 ReAct,工具已经在第 8、9 节完成,分别是对于单集群资源的增删查以及对多集群的获取集群列表操作,本节课我会补充一个人类工具,用于在删除这样的危险操作前做一下确认。
Cobra 前端
首先,我们先来制作命令行前端。Cobra 命令,我们每一个和 K8s 打过交道的开发者都用过。比如:
1 | kubectl get pod |
这个命令主要分成三个部分,其中 kubectl 是可执行程序的名字,也就是我们自己做 Go 语言应用开发时 go build 所指定的名称;get 是 命令,即要执行的动作;pod 是子命令,即主命令下的一个细分类。
当然 Cobra 命令不止这三部分,它还有Args、Flag 等等内容,但本节课我们不需要设计这么复杂的命令行,如果你感兴趣的话可以在课后自行看文档研究。
下面我们开始实际做设计,写代码。我希望实现的效果是,当我输入:
1 | k8sGpt chat |
可以进入类似 MySQL 那样的交互式命令行页面,我可以输入 prompt,然后 Agent 给我结果,直到我输入 exit,交互式命令行才退出。
要实现这个效果,首先我需要先把 cobra 命令行框架代码搭起来。这一步可以使用 Github 上的一个开源工具 cobra-cli 来自动生成代码。
通过命令:
1 | go install github.com/spf13/cobra-cli@latest |
可以将 cobra-cli 安装到本地。
Cobra-cli 的使用非常简单,首先我们需要先创建并初始化好一个空的 go 语言工程(执行过 go mod init)。之后在工程的根目录下执行命令:
1 | cobra-cli init --author "k8sGpt" --license mit |
进行代码初始化。author 后跟的是项目名称,可以自己随意取,license 则是开源协议的类型,主流的协议都支持,在执行完这条命令后,会在根目录下生成这样的目录结构与代码。
1 | . |
这就是 Cobra 的 初始框架,root.go 可以理解为所有后续命令的根,之后所有的命令都要在根上生长。root.go 还有一个重要作用就是如下图所示的定义了帮助文档,即我们输入 -h 时,输出的内容。

接下来,我们来创建 chat 命令。执行:
1 | cobra-cli add chat |
此时,会在 cmd 文件夹下创建出一个叫做 chat.go 的文件,这便是 chat 命令的主体。

此时我们执行:
1 | go run main.go chat |
会有如下效果:

说明 Run 回调函数中的打印被执行了。因此我们可在此编写执行 chat 命令后的业务逻辑。
首先,先实现交互式的效果。代码这样写:
1 | scanner := bufio.NewScanner(cmd.InOrStdin()) |
我们通过一个 for{} 死循环将 Run 函数卡住,通过 scanner 接收用户输入,只有输入 exit 时才能退出,这样就实现了交互式。运行效果如下:

Ok,Cobra 代码先写到这,我们先来写 Agent 代码以及工具描述部分,这两部分完成后,再来 Run 函数里,把 Agent 多轮对话逻辑写完。
Agent
Agent 部分很简单,我们在第一章里已经讲过。本项目可以把第一章实战部分的代码直接拿过来,仅仅把 ReAct 模板略作修改即可。
修改后的 ReAct 模板如下:
1 | You are a Kubernetes expert. A user has asked you a question about a Kubernetes issue they are facing. You need to diagnose the problem and provide a solution. |
大体逻辑是没变化的,主要是在开头添加了 K8s 专家的人设。使得 Agent 可以更好地选择工具解决问题。
工具
单集群增删查工具
工具类,我们使用面向对象的思想进行封装。以创建为例,首先定义一个结构体:
1 | type CreateTool struct { |
用于表示工具的名称,作用描述,参数。
之后通过构造函数为这三个变量赋值。
1 | func NewCreateTool() *CreateTool { |
在第 8 节课的代码中,我们用 gin 对增删查进行了封装,其中创建这个 API 的 param 是 resource,body 是待创建的资源 YAML。因此在这里,我打算让大模型根据用户的 prompt 去生成一个 YAML。所以,在 ArgsSchema 中,我设计的参数有两个,一个是 prompt,也就是用户输入的 prompt,一个是 resource,用于通过 restmapper 获取 gvr 的。
创建 YAML 的 system prompt,我们在设计篇讲过,在这里再简单回顾一下:
1 | 您是一名虚拟 k8s(Kubernetes)助手,可以根据用户输入生成 k8s yaml。yaml 保证能被 kubectl apply 命令执行。 |
prompt 中的规则很重要,比如通常大模型返回内容喜欢用 MarkDown 格式,这就让我们处理起来很麻烦,需要用一堆正则去过滤,因此在 prompt 中明确告诉大模型不要放在 yaml 代码块中,可以减轻我们的工作量。
在生成好 YAML 后,我们可以用一个标准 HTTP POST请求去访问第 8 节课程序的创建 API,得到返回结果。
这个过程的完整代码如下:
1 | func (c *CreateTool) Run(prompt string, resource string) string { |
创建工具搞清楚流程后,删除和查询的逻辑是一样的,都是在构造函数中添加名称,功能描述与参数描述,之后在 Run 方法中调用对应的 API。在这里就不再赘述,你可以在课后下载我的代码查看。
多集群查询工具
在上一节课,我介绍了通过 Karmada 列出集群列表的两种方法,在课后,我用 gin 将其封装成了 API,并上传到了 Github上,你可以下载我的代码直接运行。
由于这个功能非常简单,无需任何参数,因此在工具的构造函数中,我只写了名称和描述。代码如下:
1 | func NewClusterTool() *ClusterTool { |
Run 方法就更简单了,直接 GET 一下 API 即可。
人类工具
前面介绍的都属于业务工具的范畴,但从安全性的角度考虑,我们还需要设计特殊的工具。
在 LangChain 中有一个人类工具 HumanTool,我认为设计得非常好,它设计的初衷是把人类当工具,当 Agent 遇事不决时,问问人类,由人类给出补充信息,帮助 Agent 继续思考。
我考虑到,对于删除这样的操作,如果完全交给 Agent 是很危险的,如果 Agent 不小心删错了资源就麻烦了。因此最好还是在 Agent 执行删除前,由人类再检查一遍名称、命名空间等,看看对不对。
因此我的工具描述设计如下:
1 | func NewHumanTool() *HumanTool { |
描述很好理解,参数也很简单,就一个,那就是把需要人类确认的内容描述清楚了。这样人类就知道 Agent 要寻求什么帮助了。之后的 Run 方法也很简单,提供一个标准输入,让人类能够输入内容传递给 Agent。代码如下:
1 | func (d *HumanTool) Run(prompt string) string { |
返回的 input 会拼接到 Observation 后面,之后通过下一轮对话的方式传递给 Agent。
Agent 多轮对话过程
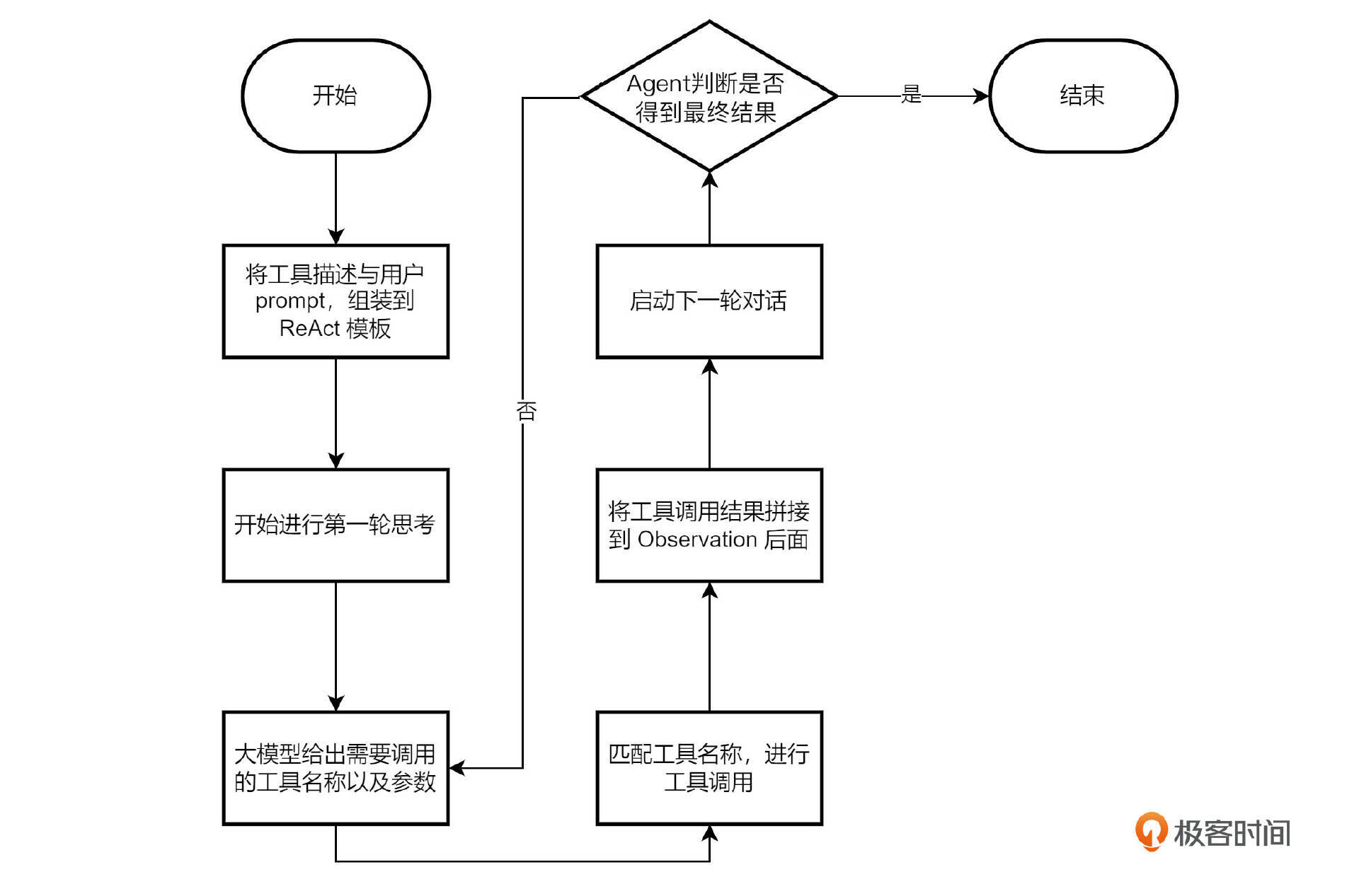
工具准备好后,就可以继续在 chat.go 的 Run 方法中编写 Agent 多轮对话的业务逻辑了。其实代码逻辑与第一章最后的实践课代码是一样的,只是工具从加减法工具换成了本节课的工具。我用一张流程图带你再梳理一下代码逻辑。

进入 Cobra 的交互式命令后,用户可以在 shell 终端输入 prompt,程序会将用户 prompt 以及工具描述等用 sprintf 函数灌入到 ReAct 模板中,将该模板当作新的 prompt 发送给大模型。大模型在第一轮思考后会给出要调用什么工具以及 json格式的工具参数,此时代码会通过if else 进行工具名称匹配,匹配到后进行工具调用。最后将工具调用结果拼接到 Obervation 后面,开始下一轮对话。直到得到 Final Answer 后,对话结束。
测试
最后我们测试一下实际效果。
首先是创建,我给出的 prompt 是这样的:
1 | 在default NS下创建pod,名字叫foo-app 标签是app: foo 镜像是higress-registry.cn-hangzhou.cr.aliyuncs.com/higress/http-echo:0.2.4-alpine 参数是"-text=foo" |
第一轮回答如下:

可以看到 YAML 被正确地创建出来了,且选择了正确的工具。再来看第二轮对话:

可以看到提示创建已成功。我们用查询来测试一下,是否真的创建成功。给出 prompt:
1 | 列出 default NS 下所有 pod的名称 |
第一轮的对话结果为:

可以看到选择了正确的工具,并通过调用工具得到了一坨人类看着“眼花”的返回。然而人类“眼花”,大模型不“眼花”,我们来看第二轮的结果:

可以看到,大模型从那一坨返回中提取出了 pod 的名称。这就是之前我曾提到过的将结果“自然语言化”,如果后面我们想换个格式和内容,比如以表格形式列出所有的 pod 的名称和创建时间,在传统应用中,我们需要改代码才能完成,但在我们的例子中,只需要修改 prompt 即可完成。
最后,我们测试一下删除。prompt为:
1 | 删除 default NS 下名字叫 foo-app 的 pod |
第一轮结果:

可以看到,Agent 首先调用了 HumanTool 来向人类发起确认,人类返回了“是”。
第二轮结果:

第二轮 Agent 调用了 DeleteTool,并成功删除了 pod。
总结
本节课,我们结合第一章的 Agent 知识以及本章的云原生 K8s 相关知识做了一个“大一统”的实战。我们用 kubectl 同款的 Cobra SDK 作为自然语言前端,使用第一章的 ReAct 作为 Agent,并为前几节课做好的单集群和多集群资源操作 API 做了工具描述,从而实现了通过自然语言,让 Agent 选择合适的工具操控 K8s 的效果。
为了防止“删库跑路”事件的发生,我们还从 LangChain 移植了 HumanTool,使得在执行高风险操作(如删除集群资源)时,必须通过人类的确认。这一机制为系统提供了必要的安全保障,也展示了如何在保证智能化操作的同时,融入人工监督与控制,以确保系统在复杂的生产环境中能够安全、可靠地运行。本节课的代码已上传到 GitHub,你可以点击链接查看。
相信通过本节课的学习,大家可以对前面 9 节课的知识有一个更深刻的认识和总结,并可以体会到有了 AI 的加持,用自然语言操作 K8s 是一件多么爽的事情。在下一章节,我将继续带领大家从解决 K8s 运维问题的角度出发,看看运维全靠“喊”该如何实现。
思考题
本节课,我测试了用自然语言操控单集群的效果,大家在课后可以下载我的代码,测试一下多集群查询的效果,并可以在这个基础上,丰富更多的功能。
欢迎你在留言区展示你的测试结果,我们一起来讨论。如果你觉得这节课的内容对你有帮助的话,也欢迎你分享给其他朋友,我们下节课再见!