前面我们讲了容器网络如何实现跨主机互通,以及微服务之间的相互调用。

网络是打通了,那服务之间的互相调用,该怎么实现呢?你可能说,咱不是学过Socket吗。服务之间分调用方和被调用方,我们就建立一个TCP或者UDP的连接,不就可以通信了?

你仔细想一下,这事儿没这么简单。我们就拿最简单的场景,客户端调用一个加法函数,将两个整数加起来,返回它们的和。
如果放在本地调用,那是简单的不能再简单了,只要稍微学过一种编程语言,三下五除二就搞定了。但是一旦变成了远程调用,门槛一下子就上去了。
首先你要会Socket编程,至少先要把咱们这门网络协议课学一下,然后再看N本砖头厚的Socket程序设计的书,学会咱们学过的几种Socket程序设计的模型。这就使得本来大学毕业就能干的一项工作,变成了一件五年工作经验都不一定干好的工作,而且,搞定了Socket程序设计,才是万里长征的第一步。后面还有很多问题呢!
如何解决这五个问题?
问题一:如何规定远程调用的语法?
客户端如何告诉服务端,我是一个加法,而另一个是乘法。我是用字符串“add”传给你,还是传给你一个整数,比如1表示加法,2表示乘法?服务端该如何告诉客户端,我的这个加法,目前只能加整数,不能加小数,不能加字符串;而另一个加法“add1”,它能实现小数和整数的混合加法。那返回值是什么?正确的时候返回什么,错误的时候又返回什么?
问题二:如果传递参数?
我是先传两个整数,后传一个操作符“add”,还是先传操作符,再传两个整数?是不是像咱们数据结构里一样,如果都是UDP,想要实现一个逆波兰表达式,放在一个报文里面还好,如果是TCP,是一个流,在这个流里面,如何将两次调用进行分界?什么时候是头,什么时候是尾?把这次的参数和上次的参数混了起来,TCP一端发送出去的数据,另外一端不一定能一下子全部读取出来。所以,怎么才算读完呢?
问题三:如何表示数据?
在这个简单的例子中,传递的就是一个固定长度的int值,这种情况还好,如果是变长的类型,是一个结构体,甚至是一个类,应该怎么办呢?如果是int,不同的平台上长度也不同,该怎么办呢?
在网络上传输超过一个Byte的类型,还有大端Big Endian和小端Little Endian的问题。
假设我们要在32位四个Byte的一个空间存放整数1,很显然只要一个Byte放1,其他三个Byte放0就可以了。那问题是,最后一个Byte放1呢,还是第一个Byte放1呢?或者说1作为最低位,应该是放在32位的最后一个位置呢,还是放在第一个位置呢?
最低位放在最后一个位置,叫作Little Endian,最低位放在第一个位置,叫作Big Endian。TCP/IP协议栈是按照Big Endian来设计的,而X86机器多按照Little Endian来设计的,因而发出去的时候需要做一个转换。
问题四:如何知道一个服务端都实现了哪些远程调用?从哪个端口可以访问这个远程调用?
假设服务端实现了多个远程调用,每个可能实现在不同的进程中,监听的端口也不一样,而且由于服务端都是自己实现的,不可能使用一个大家都公认的端口,而且有可能多个进程部署在一台机器上,大家需要抢占端口,为了防止冲突,往往使用随机端口,那客户端如何找到这些监听的端口呢?
问题五:发生了错误、重传、丢包、性能等问题怎么办?
本地调用没有这个问题,但是一旦到网络上,这些问题都需要处理,因为网络是不可靠的,虽然在同一个连接中,我们还可通过TCP协议保证丢包、重传的问题,但是如果服务器崩溃了又重启,当前连接断开了,TCP就保证不了了,需要应用自己进行重新调用,重新传输会不会同样的操作做两遍,远程调用性能会不会受影响呢?
协议约定问题
看到这么多问题,你是不是想起了我[第一节]讲过的这张图。

本地调用函数里有很多问题,比如词法分析、语法分析、语义分析等等,这些编译器本来都能帮你做了。但是在远程调用中,这些问题你都需要重新操心。
很多公司的解决方法是,弄一个核心通信组,里面都是Socket编程的大牛,实现一个统一的库,让其他业务组的人来调用,业务的人不需要知道中间传输的细节。通信双方的语法、语义、格式、端口、错误处理等,都需要调用方和被调用方开会协商,双方达成一致。一旦有一方改变,要及时通知对方,否则通信就会有问题。
可是不是每一个公司都有这种大牛团队,往往只有大公司才配得起,那有没有已经实现好的框架可以使用呢?
当然有。一个大牛Bruce Jay Nelson写了一篇论文Implementing Remote Procedure Calls,定义了RPC的调用标准。后面所有RPC框架,都是按照这个标准模式来的。

当客户端的应用想发起一个远程调用时,它实际是通过本地调用本地调用方的Stub。它负责将调用的接口、方法和参数,通过约定的协议规范进行编码,并通过本地的RPCRuntime进行传输,将调用网络包发送到服务器。
服务器端的RPCRuntime收到请求后,交给提供方Stub进行解码,然后调用服务端的方法,服务端执行方法,返回结果,提供方Stub将返回结果编码后,发送给客户端,客户端的RPCRuntime收到结果,发给调用方Stub解码得到结果,返回给客户端。
这里面分了三个层次,对于用户层和服务端,都像是本地调用一样,专注于业务逻辑的处理就可以了。对于Stub层,处理双方约定好的语法、语义、封装、解封装。对于RPCRuntime,主要处理高性能的传输,以及网络的错误和异常。
最早的RPC的一种实现方式称为Sun RPC或ONC RPC。Sun公司是第一个提供商业化RPC库和 RPC编译器的公司。这个RPC框架是在NFS协议中使用的。
NFS(Network File System)就是网络文件系统。要使NFS成功运行,要启动两个服务端,一个是mountd,用来挂载文件路径;一个是nfsd,用来读写文件。NFS可以在本地mount一个远程的目录到本地的一个目录,从而本地的用户在这个目录里面写入、读出任何文件的时候,其实操作的是远程另一台机器上的文件。
操作远程和远程调用的思路是一样的,就像操作本地一样。所以NFS协议就是基于RPC实现的。当然无论是什么RPC,底层都是Socket编程。

XDR(External Data Representation,外部数据表示法)是一个标准的数据压缩格式,可以表示基本的数据类型,也可以表示结构体。
这里是几种基本的数据类型。

在RPC的调用过程中,所有的数据类型都要封装成类似的格式。而且RPC的调用和结果返回,也有严格的格式。
- XID唯一标识一对请求和回复。请求为0,回复为1。
- RPC有版本号,两端要匹配RPC协议的版本号。如果不匹配,就会返回Deny,原因就是RPC_MISMATCH。
- 程序有编号。如果服务端找不到这个程序,就会返回PROG_UNAVAIL。
- 程序有版本号。如果程序的版本号不匹配,就会返回PROG_MISMATCH。
- 一个程序可以有多个方法,方法也有编号,如果找不到方法,就会返回PROC_UNAVAIL。
- 调用需要认证鉴权,如果不通过,则Deny。
- 最后是参数列表,如果参数无法解析,则返回GABAGE_ARGS。

为了可以成功调用RPC,在客户端和服务端实现RPC的时候,首先要定义一个双方都认可的程序、版本、方法、参数等。

如果还是上面的加法,则双方约定为一个协议定义文件,同理如果是NFS、mount和读写,也会有类似的定义。
有了协议定义文件,ONC RPC会提供一个工具,根据这个文件生成客户端和服务器端的Stub程序。

最下层的是XDR文件,用于编码和解码参数。这个文件是客户端和服务端共享的,因为只有双方一致才能成功通信。
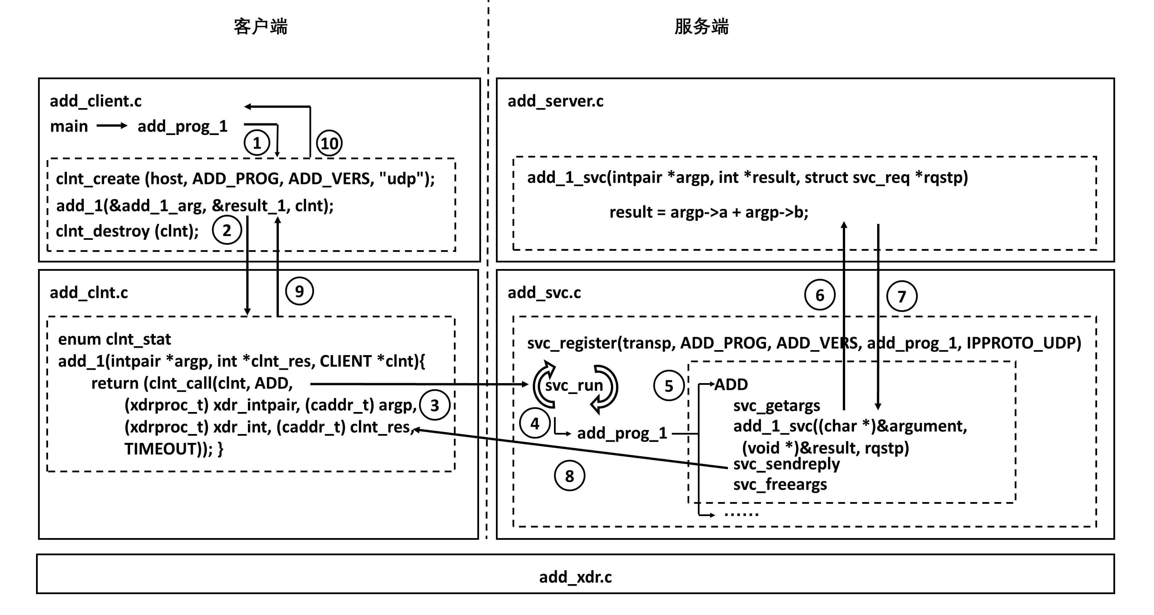
在客户端,会调用clnt_create创建一个连接,然后调用add_1,这是一个Stub函数,感觉是在调用本地一样。其实是这个函数发起了一个RPC调用,通过调用clnt_call来调用ONC RPC的类库,来真正发送请求。调用的过程非常复杂,一会儿我详细说这个。
当然服务端也有一个Stub程序,监听客户端的请求,当调用到达的时候,判断如果是add,则调用真正的服务端逻辑,也即将两个数加起来。
服务端将结果返回服务端的Stub,这个Stub程序发送结果给客户端,客户端的Stub程序正在等待结果,当结果到达客户端Stub,就将结果返回给客户端的应用程序,从而完成整个调用过程。
有了这个RPC的框架,前面五个问题中的前三个“如何规定远程调用的语法?”“如何传递参数?”以及“如何表示数据?”基本解决了,这三个问题我们统称为协议约定问题。
传输问题
但是错误、重传、丢包、性能等问题还没有解决,这些问题我们统称为传输问题。这个就不用Stub操心了,而是由ONC RPC的类库来实现。这是大牛们实现的,我们只要调用就可以了。

在这个类库中,为了解决传输问题,对于每一个客户端,都会创建一个传输管理层,而每一次RPC调用,都会是一个任务,在传输管理层,你可以看到熟悉的队列机制、拥塞窗口机制等。
由于在网络传输的时候,经常需要等待,因而同步的方式往往效率比较低,因而也就有Socket的异步模型。为了能够异步处理,对于远程调用的处理,往往是通过状态机来实现的。只有当满足某个状态的时候,才进行下一步,如果不满足状态,不是在那里等,而是将资源留出来,用来处理其他的RPC调用。

从这个图可以看出,这个状态转换图还是很复杂的。
首先,进入起始状态,查看RPC的传输层队列中有没有空闲的位置,可以处理新的RPC任务。如果没有,说明太忙了,或直接结束或重试。如果申请成功,就可以分配内存,获取服务的端口号,然后连接服务器。
连接的过程要有一段时间,因而要等待连接的结果,会有连接失败,或直接结束或重试。如果连接成功,则开始发送RPC请求,然后等待获取RPC结果,这个过程也需要一定的时间;如果发送出错,可以重新发送;如果连接断了,可以重新连接;如果超时,可以重新传输;如果获取到结果,就可以解码,正常结束。
这里处理了连接失败、重试、发送失败、超时、重试等场景。不是大牛真写不出来,因而实现一个RPC的框架,其实很有难度。
服务发现问题
传输问题解决了,我们还遗留一个问题,就是问题四“如何找到RPC服务端的那个随机端口”。这个问题我们称为服务发现问题。在ONC RPC中,服务发现是通过portmapper实现的。

portmapper会启动在一个众所周知的端口上,RPC程序由于是用户自己写的,会监听在一个随机端口上,但是RPC程序启动的时候,会向portmapper注册。客户端要访问RPC服务端这个程序的时候,首先查询portmapper,获取RPC服务端程序的随机端口,然后向这个随机端口建立连接,开始RPC调用。从图中可以看出,mount命令的RPC调用,就是这样实现的。
小结
好了,这一节就到这里,我们来总结一下。
- 远程调用看起来用Socket编程就可以了,其实是很复杂的,要解决协议约定问题、传输问题和服务发现问题。
- 大牛Bruce Jay Nelson的论文、早期ONC RPC框架,以及NFS的实现,给出了解决这三大问题的示范性实现,也即协议约定要公用协议描述文件,并通过这个文件生成Stub程序;RPC的传输一般需要一个状态机,需要另外一个进程专门做服务发现。
最后,给你留两个思考题。
- 在这篇文章中,mount的过程是通过系统调用,最终调用到RPC层。一旦mount完毕之后,客户端就像写入本地文件一样写入NFS了,这个过程是如何触发RPC层的呢?
- ONC RPC是早期的RPC框架,你觉得它有哪些问题呢?
我们的专栏更新到第32讲,不知你掌握得如何?每节课后我留的思考题,你都有没有认真思考,并在留言区写下答案呢?我会从已发布的文章中选出一批认真留言的同学,赠送学习奖励礼券和我整理的独家网络协议知识图谱。
欢迎你留言和我讨论。趣谈网络协议,我们下期见!